WN系统之家 - 操作系统光盘下载网站!

当前位置: 首页  >  教程资讯 智能家居控制系统设计论文

智能家居控制系统设计论文

时间:2024-09-29 来源:网络 人气:

摘要

关键词

智能家居;控制系统;设计;技术;应用

一、引言

智能家居控制系统是指通过物联网技术,将家庭中的各种设备连接起来,实现远程控制、自动化管理等功能。随着人们生活水平的提高,对家居环境的要求也越来越高,智能家居控制系统应运而生。本文将详细介绍智能家居控制系统的设计方法、关键技术以及实际应用。

二、智能家居控制系统设计理念

智能家居控制系统设计应遵循以下理念:

人性化设计:系统应满足用户的使用习惯,提供便捷的操作方式。

智能化控制:系统应具备自动调节、故障诊断等功能,提高家居生活的舒适度和安全性。

开放性设计:系统应支持多种设备接入,便于用户扩展功能。

节能环保:系统应具备节能降耗的功能,降低家庭能源消耗。

三、智能家居控制系统关键技术

智能家居控制系统涉及多项关键技术,主要包括:

物联网技术:通过物联网技术,实现家庭设备的互联互通。

无线通信技术:如WiFi、蓝牙等,实现设备间的数据传输。

传感器技术:如温湿度传感器、烟雾传感器等,实时监测家庭环境。

云计算技术:通过云计算平台,实现数据的存储、处理和分析。

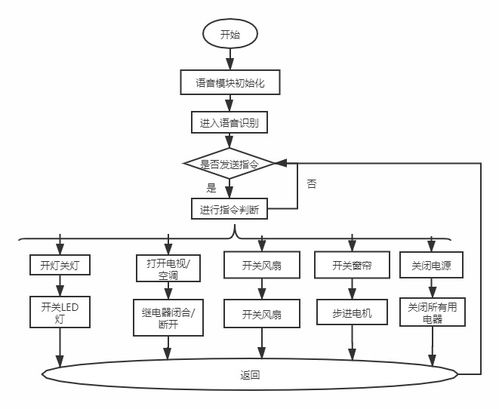
人工智能技术:如语音识别、图像识别等,提高系统的智能化水平。

四、智能家居控制系统设计实例

以下是一个智能家居控制系统的设计实例:

1. 系统架构

该系统采用分层架构,包括感知层、网络层、平台层和应用层。

感知层:包括各种传感器,如温湿度传感器、烟雾传感器等,用于实时监测家庭环境。

网络层:包括无线通信模块,如WiFi、蓝牙等,实现设备间的数据传输。

平台层:包括云计算平台,用于数据的存储、处理和分析。

应用层:包括用户界面、设备控制等,实现用户对家居环境的远程控制和自动化管理。

2. 系统功能

该系统具备以下功能:

远程控制:用户可以通过手机、平板电脑等移动设备远程控制家中的电器、灯光等设备。

自动化管理:系统可以根据用户设定的时间、场景等自动调节家居设备,如自动开关灯、调节空调温度等。

安全监控:系统可以实时监测家庭环境,如烟雾、温度等,一旦发生异常,立即通知用户。

节能环保:系统可以根据用户的使用习惯,自动调节家电使用情况,降低能源消耗。

五、智能家居控制系统应用前景

智能家居控制系统具有广阔的应用前景,主要体现在以下方面:

提高家居生活品质:通过智能化控制,提升家居生活的舒适度和便捷性。

保障家庭安全:实时监测家庭环境,预防安全事故发生。

降低能源消耗:实现节能降耗,为环保事业贡献力量。

促进产业发展:推动智能家居产业链的完善和发展。

六、结论

智能家居控制系统是现代家庭生活的重要组成部分,具有广泛的应用前景。本文从设计理念、关键技术、设计实例等方面对智能家居控制系统进行了探讨,以期为智能家居行业的发展提供参考。


作者 小编

教程资讯

教程资讯排行

系统教程

主题下载